余浩群 2006年进入亿博检测技术有限公司,担任高级技术顾问。
精通各类检测认证标准,服务过上千家企业。 联系方式:13824328299(微信同号) 座机:0755-29451282 传真:0755-22639141
邮箱:ebo@ebotek.cn
地址:深圳市宝安新安六路勤业商务中心A栋一楼112-114
扫一扫加顾问微信
权威CCC认证机构据CCC认证资源网消息 CCC认证范围如何查询? CCC认证是中国的强制性认证,英文名称China Compulsory Certification。CCC认证既然是称之为强制性认证,也就是说只要在CC..
138-2432-8299 立即咨询
扫码咨询
发布时间:2020-07-22 热度:
CCC认证范围如何查询?
CCC认证是中国的强制性认证,英文名称China Compulsory Certification。CCC认证既然是称之为强制性认证,也就是说只要在CCC认证范围内的产品,就一定要办理CCC认证。厂家在生产销售过程中就需要时时关注自己的产品是否在CCC认证范围内。
那么,有个很重要的问题就来了,那些产品是在CCC认证范围内呢?最新的CCC认证目录改如何查询呢?
这里,让小编和大家一起分享下CCC认证范围的查询方法。
CCC认证是由CQC中国质量认证中心来管控的,所以要查询最新的CCC认证目录范围,得上CQC官网来查询,我这里直接分享给大家查询CCC认证目录的链接:
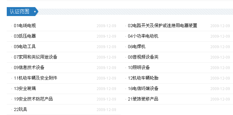
http://www.cqc.com.cn/www/chinese/cprz/CCCcprz/ 点击进网站后,可以找到这认证范围的模块:

点进任何一个大类,里面就会有这个大类包含的所有产品的小类,以及其办理CCC认证所应用的标准,具体如下:

如此,再对照自己的产品,便可知道自己的产品是否在CCC认证目录里了。
如果,贵司的产品在CCC认证范围内,就需要办理CCC认证,有了CCC认证,任何市场抽查都不用担心,而且产品后续入驻京东天猫也是十分的方便。办理CCC认证的简单流程如下:
1. 向CCC认证办理机构提出产品CCC认证申请
2. 申请受理
3. 填写CCC认证申请表
4. 提供产品资料
5. 实验室帮助企业进行产品预测试
6. 对产品进行测试
7. 工厂审查
8. 合格评定
9. 发布报告与CCC认证证书
余浩群 2006年进入亿博检测技术有限公司,担任高级技术顾问。
精通各类检测认证标准,服务过上千家企业。 联系方式:13824328299(微信同号) 座机:0755-29451282 传真:0755-22639141
邮箱:ebo@ebotek.cn
地址:深圳市宝安新安六路勤业商务中心A栋一楼112-114
扫一扫加顾问微信

一、 许多企业在申请下来3C认证后,都会遇到各种问题需要进行变更申请的情况,但是并不是所有的情况都是可以申请的。 下面亿博检测为您整理了可申请3C认证变更的情况。...

许多刚接触3C认证的朋友,都比较困惑3C认证具体有哪些要求,担心自己的工厂或者生产的产品无法拿到3C认证证书,现就这个问题,罗列一下3C认证的一些基本要求,如下: 一、...

拼多多3c认证:拼多多是继淘宝、天猫、京东以后又一个千万级的流量平台;拼多多跟天猫以及淘宝一样,对于在3c认证目录的产品都是需要办理中国强制性3c认证证书的。很多的...

手机这类通讯产品在中国上市销售是需要拿到三个认证才可以进行销售,一个是型号核准认证SRRC,一个是进网许可认证,一个是3C认证。如果单单拿到3C进行销售那也是不行的,...
官方微信公众号
深圳市宝安82区新安六路勤业商务中心A栋一楼112-114
邮箱:yuhaoqun@ebotek.cn
微信:13824328299(同手机号码)

粤公网安备 44030602005235号